| Sign In | Join Free | My portofva.com |
|
Brand Name : KEYE
Model Number : KVIS-A-Corn1
Certification : No
Place of Origin : China
MOQ : 1 SET
Price : Negotiable
Payment Terms : L/C, T/T
Delivery Time : 4 to 6 weeks
Packaging Details : Fumigation-free wood
Supply Ability : 1 set per 2 weeks
WEIGHT : 60kg
COLOR : According To Customer's Need
Touch screen : 21 inches
Condition : New
Applications : Lab Analyzer
Selling points : AI visual technology
After sale service : Remote service
Core component : High resolution industrial touch screen
Product background
Compared with crops such as rice and wheat, corn has strong drought tolerance, barren tolerance, and good environmental adaptability. The nutritional value of corn is high. With the improvement of people's living standards, the pursuit of quality in corn consumption and processing has become higher. Visual inspection of corn defects has become an important method to improve quality.
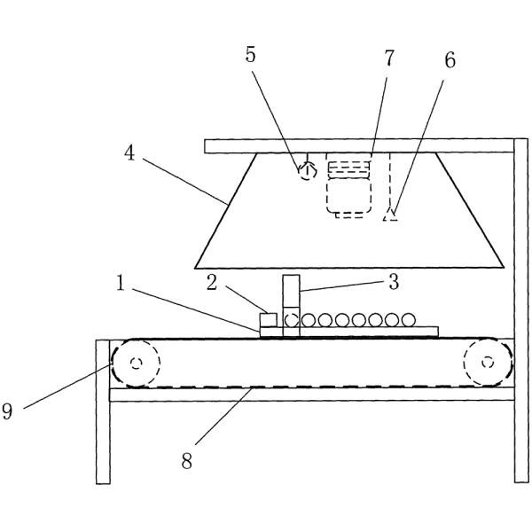
The quality of corn itself is an important guarantee for the value of corn. The corn online quality detector produced by our company adopts brand-new AI technology, which can detect the state of corn with high efficiency and high precision. Disease spots, insect-eaten grains, broken grains, soil, impurities (sands, bricks, weed seeds, etc.) are tested, and statistical reports are formed online.

Inspection principle
The solution realizes multi-corn seed image segmentation according to the software functions of the vision system, performs preprocessing operations, and drags the software functions such as patch pickling, patch counting and other functions to realize corn bug eye detection, corn blackhead detection, corn mildew detection, and corn damage. Detection, etc., make the image information enhancement detection effect more accurate, and distinguish the qualified corn quality from the corn shape characteristics, color, texture and other information.

Device parameters
| power | <200 W 220~230V |
| voltage range | Single-phase alternating current 200~240V,50HZ |
| Environment temperature | -10℃~+45℃(No icing) |
| Environment humidity | Below 85% (no condensation) |
Detection details
1. Automatic binarization: Use deep neural network to segment the foreground and background of the image. Compared with the traditional binarization method, it can be applied to a variety of lighting conditions, and the corn edge segmentation is smoother, fast and robust High advantages.
2. Adhesive corn segmentation algorithm: The method based on connected domains cannot segment the adhered corn. The deep neural network is used to segment the adhered corn at an instance level, which can reach a speed of 1000fps and can process the adhered corn in real time.
3. Corn attribute recognition algorithm: adopts a lightweight neural network and integrates a semi-supervised learning method. The model can be iteratively optimized only by marking a small amount of data. It has the advantages of high accuracy, fast speed, and convenient deployment.

After-sale service
The company has a complete technical service team and rapid response mechanism, and has dedicated service specialists for each customer, who can receive technical consultation and fault reports from customers at any time. And to ensure rapid response to customer emergencies, to ensure that customers receive satisfactory service.During the epidemic or due to special reasons, when after-sales engineers are unable to reach the site, the service center can remotely adjust customer equipment for troubleshooting and technical consultation.

After the equipment arrives at the customer site, the after-sales engineer arrives in time to carry out equipment installation, commissioning, and operation training. The product quality of the whole machine is traceable, and the quality warranty period is 1 year from the date of acceptance. In the event of non-human faults during the warranty period, after-sales engineers will quickly arrive at the site or provide remote guidance for free maintenance.
|
|
Remote Online After-sales Grain 3d Inspection Equipment for lab Analyzer Images |